- Главная →
- Резинотехнические изделия (РТИ) →
- Шнуры, резиновые смеси, профили, клей →
- Резиновые уплотнители (профили)
Резиновые уплотнители (профили)

П-образный резиновый уплотнитель применяется для уплотнения дверей, люков, в качестве прокладок в автокалавах, котлах, в бытовой технике. Также профиль резиновый применяется при монтаже витражей, окон, теплиц и других сооружений.
НТ-9, НТ-10, НТ-8 используются для автомобилей, автобусов, тракторов, комбайнов и другой строительной и дорожной техники.
ООО ПП "МТР-Сервис" предлагает купить резиновый уплотнитель с доставкой в г. Магадан по выгодной цене.
- Цена
- Характеристики
П-образный резиновый уплотнитель

Профиль для уплотнения стекол, витражей, окон, теплиц и других сооружений изготавливается из атмосферостойкой резиновой смеси средней степени твердости, рабочая среда: вода, воздух, слабые растворы кислот, щелочей (концентрацией до 20%, кроме уксусной и азотной кислот).
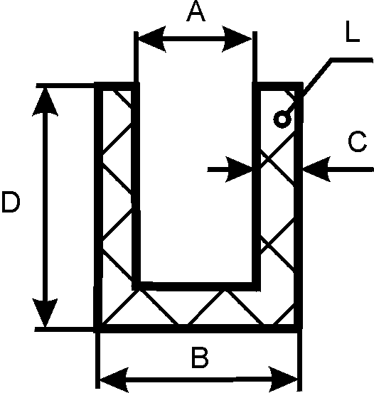
| Наименование профиля |
Геометрические размеры, мм | Расчетный вес п.м., гр. |
Вес бухты, кг. | |||
|---|---|---|---|---|---|---|
| D | B | A | C | |||
| 8*6*1.2*2.4 | 8 | 6 | 1.2 | 2.4 | 55 | 30 кг. |
| 11*7*4*1.5 | 11 | 7 | 4 | 1.5 | 55 | |
| 12*9*4*2.5 | 12 | 9 | 4 | 2.5 | 95 | |
| 15*8*4*2 | 15 | 8 | 4 | 2 | 90 | |
| 20*9*4*2.5 | 20 | 9 | 4 | 2.5 | 150 | |
| 8*6.5*4.5*1.7 | 8 | 6.5 | 4.5 | 1.7 | 45 | |
| 17*10*5*2.5 | 17 | 10 | 5 | 2.5 | 130 | |
| 13*12*6*3 | 13 | 12 | 6 | 3 | 130 | |
| 15*10*6*2 | 15 | 10 | 6 | 2 | 95 | |
| 17*11*6*2.5 | 17 | 11 | 6 | 2.5 | 135 | |
| 20*12*6*3 | 20 | 12 | 6 | 3 | 185 | |
| 19*14*8*3 | 19 | 14 | 8 | 3 | 185 | от 7 до 15 кг. |
Резиновые уплотнители НТ-9, НТ-10, НТ-8


Используются для монтажа стекол на металлических конструкциях, уплотнения окон, дверей и других элементов кузовов автомобилей, автобусов, тракторов, комбайнов, строительных и дорожных машин.
| Наименование профиля |
Геометрические размеры, мм | Расчетный вес п.м., гр. |
Вес бухты, кг. | |||
|---|---|---|---|---|---|---|
| A | B | C | D | |||
| НТ-8 | 7 | 6 | 55 | 30 |
||
| НТ-9 | 21 | 15 | 4 | 2 | 270 | |
| НТ-10 | 25 | 17 | 5 | 2 | 300 | |
Все резиновые уплотнители резиновые работоспособны при любых видах атмосферного воздействия в интервале температур от -30 до +60 °С, имеют высокие прочностные показатели.
Срок службы не менее 5 лет.
Пример условного обозначения:
Профиль под стекло 15*8*4*2 ТУ 2500-37600152106-94
15*8*4*2 - размеры профиля, где 15 - высота (мм)
8 - ширина (мм)
4 - размер под стекло (мм)
2 - толщина стенки профиля (мм)
ТУ 2500-37600152106-94 - Технические условия






